据甘肃省统计局消息,根据地区生产总值统一核算结果,一季度,甘肃省地区生产总值3344.7亿元,按不变价格计算,同比增长5.9%。其中,第一产业增加值222.4亿元,增长6.8%;第二产业增加值1124.7亿元,增长7.9%;第三产业增加值1997.7亿元,增长4.7%。

举报 第一财经广告合作,请点击这里此内容为第一财经原创,著作权归第一财经所有。未经第一财经书面授权,不得以任何方式加以使用,包括转载、摘编、复制或建立镜像。第一财经保留追究侵权者法律责任的权利。如需获得授权请联系第一财经版权部:banquan@yicai.com 相关阅读

兴森科技今日涨停,4家机构专用席位净买入1.20亿元
兴森科技今日涨停,4家机构专用席位净买入1.20亿元
16 2025-10-15 16:29

三花智控今日涨停,有2家机构专用席位净卖出1.61亿元
三花智控今日涨停,有2家机构专用席位净卖出1.61亿元
元股证券:ygzq.hk
2025-10-15 16:28

中国稀土今日涨停,国泰海通证券北京国贸营业部席位净买入5.12亿元
中国稀土今日涨停,国泰海通证券北京国贸营业部席位净买入5.12亿元
元股证券 17 2025-10-13 16:28

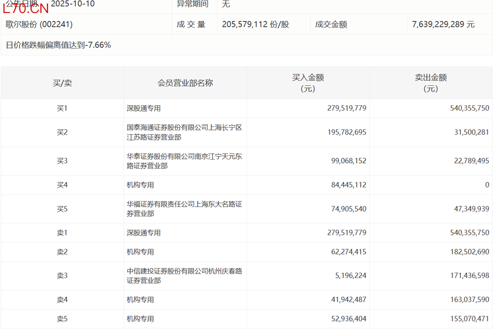
歌尔股份跌超9%,3家机构专用席位净卖出3.43亿元
歌尔股份跌超9%,3家机构专用席位净卖出3.43亿元
2025-10-10 17:01

天际股份收获4连板 六机构合计净买入4.42亿元网上配资新手建议
天际股份收获4连板 六机构合计净买入4.42亿元
16 2025-10-09 17:35 一财最热 点击关闭
元股证券手机开户提示:本文来自互联网,不代表本网站观点。